《食品加工机械与设备》考试模拟试题二

    请考生注意,部份试卷无答案试题仅作参考,本份试卷考试时间是:100分钟,请把握好自己的考试时间,以便应对真正的考场。

请先登录才能考试!      考生登录
简答题(共8题。)。
1 、

看图回答超高温瞬时灭菌机结构各部分名称。

(本题16 分)
请填写答案:
2 、

均质原理?

(本题10 分)
请填写答案:
3 、

清洗所用的机械分三类?

(本题6 分)
请填写答案:
4 、

封罐机的类型

(本题12 分)
请填写答案:
5 、

硅藻土过滤机优点?

(本题6 分)
请填写答案:
6 、

看图叙述GT4D5型半自动玻璃罐封口机工作过程?

(本题20 分)
请填写答案:
7 、

试述硅藻土过滤机选型?

(本题15 分)
请填写答案:
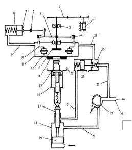
8 、

看图试述立式、单作用直流式氨压缩机基本构造及工作原理?

(本题15 分)
请填写答案:
简答题快速到达:
12345678
Baidu
map