哈尔滨商业大学食品加工机械试题(三)

    请考生注意,部份试卷无答案试题仅作参考,本份试卷考试时间是:60分钟,请把握好自己的考试时间,以便应对真正的考场。

请先登录才能考试!      考生登录
填空题,如果有多个空,空与空之间用一个空格空开。(每小题2分,共34题。)
1 、

 图示为(  )联流程的板式换热器,( )板、( )程、( )流道。流程表达式为(        )

请填写答案:
2 、

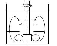
画出搅拌机旋桨式搅拌器工作时的液体流型(   );当该搅拌器合低粘度物料,且桨轴对中安装,转速较高时,( )向流有利于混合,( )向流不利于混合,易出现(  )现象,可采用()方法促进混合。

请填写答案:
3 、

均质操作是一种特殊的(    )过程,包括(   )、(    ).

请填写答案:
4 、

压力容器产生边缘应力的条件的是联接的两部分受力后(  )不同,且互相(   )。

请填写答案:
5 、

图示为( )联流程的板式换热器,共(  )板、( )程、( )流道、流程组合表达式(       )。

请填写答案:
6 、

内压容器的主要失效形式是(  )不足而(   )。

请填写答案:
7 、

螺旋卸料沉降式离心机其澄清液排出口所处的位置越靠近轴心其所得到的澄清液越( )。

请填写答案:
8 、

当外压容器的几何参数L/D一定时, 而 S/D越(),则容器的临界压力   (  ),反映该容器的承受外压的能力(  )。

请填写答案:
9 、

流化床硫化操作的速度范围在(       )速度和(    )速度之间。

请填写答案:
10 、

离心机分离因数是物料所受(     )与(    )的比值,是反映离心机(      )能力的主要指标。

请填写答案:
11 、

进动卸料离心机,工作过程中当α+η<Φ时,该区域叫(      ),当α+η>φ时该区域叫(  )。其中,(        )。

请填写答案:
12 、

三足式离心机,转鼓( )孔,适合分离(     )液。

请填写答案:
13 、

连续对辊式压片机正常连续工作的必要条件是各对压辊辊隙的截面处(   )相等。

请填写答案:
14 、

外压容器的主要失效形式是(        )和(         )。

请填写答案:
15 、

液体搅拌时采用(      )、(      )两个量作为反映液体混合效果的度量标准。

请填写答案:
16 、

压力容器产生边缘应力的条件的是联接的两部分受力后(    )不同,且互相(    )。

请填写答案:
17 、

当外压容器的几何参数D/S一定时,而L/D越(  ),则容器的临界压力P临越(  ),反映该容器的承受外压的能力(  )。

请填写答案:
18 、

斗式提升机的卸料方式有(   )(    )(    )。

请填写答案:
19 、

流化床内物料达到流化状态后,每一个表观速度,对应有一个空隙率,表观速度越( ),  空隙率越( ),而通过床层的实际流速(   )总是等于颗粒的(   )速度。

请填写答案:
20 、

画出液体搅拌机涡轮式搅拌器工作时流体流型。该搅拌器工作时易产生(  )效应,不适于混合(           )的悬浮液。

请填写答案:
21 、

图示为(  )联流程的板式换热器,共( )板、热流体换热共( )程、每程( )流道、冷流体换热共( )程、每程( )流道、流程组合表式(       )。

请填写答案:
22 、

液体搅拌机加挡板的作用是(      )、(      )、(      )。

请填写答案:
23 、

三足式离心机转鼓( )孔,转速较( ),适合分离(     )的悬浮液。

请填写答案:
24 、

辊压式饼干成型机,主要用于(  )饼干的生产。辊切式饼干成型机主要用于(  )饼干的生产。

请填写答案:
25 、

对于采用管状辐射元件的箱式炉,其辐射距离越近,辐射强度越( ),温度分布越(    )。

请填写答案:
26 、

螺旋卸料式离心机其澄清液排出口的位置距轴心的距离越远,其澄清液越(   )。

请填写答案:
27 、

当调制面包或馒头类面团时,应选用(      )型搅拌桨。 

请填写答案:
28 、

具有挠性牵引构件的输送机,其张紧装置的作用是(               ),(              )。

请填写答案:
29 、

加工酥性饼干类面团时,应选用( )型桨和面机。

请填写答案:
30 、

冲印式硬糖成型机长短冲杆成型运动是靠(           )与(         )的接触实现的,而长短冲杆的回程是通过(           )与(       )的接触实现的。

请填写答案:
31 、

进动离心机的卸料条件为(                                         )。

请填写答案:
32 、

拉条机连续正常工作的条件是各对拉盘截面处(   )相等。

请填写答案:
33 、

在饼干生产线中隧道炉炉膛宽度应与饼干成型机(    )宽度相匹配。

请填写答案:
34 、

物料通过辊压机辊隙时,物料对压辊的径向力叫(    ),切向力叫(     )。

请填写答案:
填空题快速到达:
12345678910111213141516171819202122232425262728293031323334

填空题快速到达:
12345678910111213141516171819202122232425262728293031323334

Baidu
map